Whirlpool CF 19 T Brugsanvisning
Her er Whirlpool CF 19 T (Fryser) brugervejledning. 4 sider på sprog med en vægt på 664,975.0 Mb. Hvis du ikke kan finde svar på dit problem Spørg vores community.
Side 1/4

INSTRUCTIONS FOR USE
1
GB
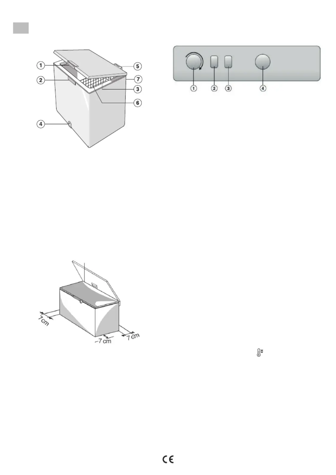
1. Lid Handle.
2. Lock (if provided).
3. Seal.
4. Defrost water drain plug (depending on model).
5. Control panel.
6. Basket (if present).
7. Condenser (located at the rear).
INSTALLATION
• Please refer to the chapter “BEFORE USING THE
APPLIANCE”.
• Unpack the appliance.
• Remove the 4 protection pieces inserted between
lid and appliance.
• Ensure that the defrosting water drainage plug (if
provided) is correctly positioned (4).
• For best operation of the appliance and in order to avoid
damage when the lid is opened, leave a space of at least
7 cm from the rear wall and 7 cm at the sides.
• Fit the accessories (if provided).
Clean the inside of the appliance before using it.
1. Thermostat: it can be used to adjust the internal
temperature of the appliance.
2. Red LED (if provided): Indicates that the appliance
temperature is not suciently low.
3. Green LED (if provided): indicates that the appliance
is on.
4. Yellow/orange illuminated button (if provided):
activates/deactivates the fast freeze function.
The exact conguration of the controls may vary
according to the model.
Switching on the appliance
• The appliance is factory set for optimum operation at a
temperature of -18°C.
• Plug in the appliance.
• The green LED lights up (if provided).
• Also the red LED (if provided) will switch on because the
temperature inside the appliance is not yet suciently
low for food storage. The red LED will normally switch o
within the rst six hours after the appliance is switched
on.
• After connecting the appliance to the mains supply and
when the optimal temperature has been reached, ensure
that the fast freeze button is not pressed (the yellow LED,
if provided, is o).
• Place food inside the product only when the red LED (if
provided) has switched o.
Note:
As the seal is tight, the appliance lid cannot be reopened
immediately after closing. Wait a few minutes before
re-opening the lid of the appliance.
Temperature adjustment
Use the thermostat to select the ideal storage temperature.
To adjust the internal temperature, proceed as follows:
• Turn the thermostat knob to 1 for a storage temperature
that is less cold.
• Turn the thermostat knob to 6 /
for a colder storage
temperature.
• For partial loads, or when the load indicator is below
the “e” symbol inside the appliance (if present), it is
advisable to move the thermostat to the lower position
(on “e”, if present on the thermostat scale).
Problemløsning Whirlpool CF 19 T
Hvis du har læst manualen omhyggeligt, men ikke fundet en løsning på dit problem, bed andre brugere om hjælp
Specifikationer
| Mærke: | Whirlpool |
| Kategori: | Fryser |
| Model: | CF 19 T |