Sony
Ikke kategoriseret
SNC-CH140
Sony SNC-CH140 Brugsanvisning
Her er Sony SNC-CH140 (Ikke kategoriseret) brugervejledning. 2 sider på sprog med en vægt på 929,125.0 Mb. Hvis du ikke kan finde svar på dit problem Spørg vores community.
Side 1/2

4-174-240- (1)18
Network Camera
Installation Manual
Before operating the unit, please read this manual thoroughly and
retain it for future reference.
Owner’s Record
The model and serial numbers are located on the top. Record these numbers
in the spaces provided below.
Refer to these numbers whenever you call upon your Sony dealer regarding
this product.
Model No. Serial No.
WARNING
To reduce a risk of fire or electric shock, do not expose
this product to rain or moisture.
To avoid electrical shock, do not open the cabinet. Refer
servicing to qualified personnel only.
WARNING
This installation should be made by a qualified service person and should
conform to all local codes.
WARNING
A readily accessible disconnect device shall be incorporated in the building
installation wiring.
WARNING (for Installers only)
Instructions for installing the equipment on the ceiling or the wall:
After the installation, ensure the connection is capable of supporting at least
a force of 50 Newtons (N) downwards.
CAUTION for LAN port
For safety reason, do not connect the LAN port to any network devices that
might have excessive voltage.
The LAN port of this unit is to be connected only to the devices whose
power feeding meets the requirements for SELV (Safety Extra Low Voltage)
and complies with Limited Power Source according to IEC 60950-1.
Use IEEE802.3af standard compliant devices.
Power Supply
Caution for U.S.A. and Canada
The SNC-CH135/CH140/CH240 operates on 24 V AC or 12 V DC.
The SNC-CH135/CH140/CH240 automatically detects the power.
In the USA, this product shall be powered by a UL listed Class 2 Power Supply
Only.
In Canada, this product shall be powered by a CSA Certified Class 2 Power
Supply Only.
Caution for other countries
The SNC-CH135/CH140/CH240 operates on 24 V AC or 12 V DC.
The SNC-CH135/CH140/CH240 automatically detects the power.
Use a power supply rated 24 V AC or 12 V DC which meets the requirements
for SELV (Safety Extra Low Voltage) and complies with Limited Power Source
according to IEC 60950-1.
For customers in the U.S.A.
This device complies with Part 15 of the FCC Rules. Operation is subject
to the following two conditions: (1) This device may not cause harmful
interference, and (2) this device must accept any interference received,
including interference that may cause undesired operation.
NOTE: This equipment has been tested and found to comply with the limits
for a Class A digital device, pursuant to Part 15 of the FCC Rules. These limits
are designed to provide reasonable protection against harmful interference
when the equipment is operated in a commercial environment. This
equipment generates, uses, and can radiate radio frequency energy and, if
not installed and used in accordance with the instruction manual, may cause
harmful interference to radio communications. Operation of this equipment
in a residential area is likely to cause harmful interference in which case the
user will be required to correct the interference at his own expense.
You are cautioned that any changes or modifications not expressly approved
in this manual could void your authority to operate this equipment.
All interface cables used to connect peripherals must be shielded in order to
comply with the limits for a digital device pursuant to Subpart B of Part 15 of
FCC Rules.
For customers in Canada
This Class A digital apparatus complies with Canadian ICES-003.
Cet appareil numérique de la classe A est conforme à la norme NMB-003 du
Canada.
For the customers in Europe
The manufacturer of this product is Sony Corporation, 1-7-1 Konan, Minato-
ku, Tokyo, 108-0075 Japan.
The Authorized Representative for EMC and product safety is Sony
Deutschland GmbH, Hedelfinger Strasse 61, 70327 Stuttgart, Germany.
For any service or guarantee matters please refer to the addresses given in
separate service or guarantee documents.
For the customers in Europe, Australia and New Zealand
WARNING
This is a Class A product. In a domestic environment, this product may cause
radio interference in which case the user may be required to take adequate
measures.
In the case that interference should occur, consult your nearest authorized
Sony service facility.
This apparatus shall not be used in the residential area.
ATTENTION
The electromagnetic fields at specific frequencies may influence the picture
of the unit.
Notes on Use
Before Use
If you find condensation when you open the package, turn on the power after
the condensation disappears.
Remove the static electricity before operation or when touching the camera.
Data and security
You should keep in mind that the images or audio you are monitoring may be
protected by privacy and other legal rights, and the responsibility for making
sure you are complying with applicable laws is yours alone.
Access to the images and audio is protected only by a user name and the
password you set up. No further authentication is provided nor should you
presume that any other protective filtering is done by the service. Since
the service is Internet-based, there is a risk that the image or audio you are
monitoring can be viewed or used by a third-party via the network.
SONY IS NOT RESPONSIBLE, AND ASSUMES ABSOLUTELY NO LIABILITY TO YOU
OR ANYONE ELSE, FOR SERVICE INTERRUPTIONS OR DISCONTINUATIONS OR
EVEN SERVICE CANCELLATION. THE SERVICE IS PROVIDED AS-IS, AND SONY
DISCLAIMS AND EXCLUDES ALL WARRANTIES, EXPRESS OR IMPLIED, WITH
RESPECT TO THE SERVICE INCLUDING, BUT NOT LIMITED TO, ANY OR ALL
IMPLIED WARRANTIES OF MERCHANTABILITY, FITNESS FOR A PARTICULAR
PURPOSE, OR THAT IT WILL OPERATE ERROR-FREE OR CONTINUOUSLY.
Security configuration is essential for wireless LAN. Should a problem
occur without setting security, or due to the limitation of the wireless LAN
specifications, SONY shall not be liable for any damage, loss of recorded data
or restoration thereof.
Always make a test recording, and verify that it was recorded successfully.
SONY WILL NOT BE LIABLE FOR DAMAGES OF ANY KIND INCLUDING, BUT NOT
LIMITED TO, COMPENSATION OR REIMBURSEMENT ON ACCOUNT OF FAILURE
OF THIS UNIT OR ITS RECORDING MEDIA, EXTERNAL STORAGE SYSTEMS OR
ANY OTHER MEDIA OR STORAGE SYSTEMS TO RECORD CONTENT OF ANY TYPE.
Always verify that the unit is operating properly before use. SONY WILL NOT
BE LIABLE FOR DAMAGES OF ANY KIND INCLUDING, BUT NOT LIMITED TO,
COMPENSATION OR REIMBURSEMENT ON ACCOUNT OF THE LOSS OF PRESENT
OR PROSPECTIVE PROFITS DUE TO FAILURE OF THIS UNIT, EITHER DURING THE
WARRANTY PERIOD OR AFTER EXPIRATION OF THE WARRANTY, OR FOR ANY
OTHER REASON WHATSOEVER.
If you lose data by using this unit, SONY accepts no responsibility for
restoration of the data.
Personal information
The images taken by the system using this device can identify individuals
and thus they fall under “personal information” stipulated in the “Act on
the Protection of Personal Information”. Please handle the video data
appropriately according to law.
Information recorded using this product may also be “personal information”.
Upon disposal, transfer, repair, or any other occasion where this product or
storage media is passed on to a third party, practice due care in its handling.
Operating or storage location
Avoid operating or storing the camera in the following locations.
Extremely hot or cold places (Operating temperature: 10°C to +50°C [14°F to –
122°F])
Exposed to direct sunlight for a long time, or close to heating equipment (e.g.,
near heaters)
Close to sources of strong magnetism
Close to sources of powerful electromagnetic radiation, such as radios or TV
transmitters
Locations subject to strong vibration or shock
Humid or dusty locations
Locations exposed to rain
Locations under the influence of fluorescent light or reflection of a window
Under an unsteady light (the image will flicker.)
Ventilation
To prevent heat buildup, do not block air circulation around the camera.
Transportation
Always turn off the power when carrying.
When transporting the camera, repack it as originally packed at the factory or
in materials of equal quality.
About the CF Memory Card
Data on the CF Memory Card may be damaged or deleted in the following cases.
Sony is not responsible for compensation for damage or lost earnings due to
damage or loss of data.
If you remove the CF Memory Card from this device or turn off the power
while the CF Memory Card is being accessed.
If the CF Memory Card is subject to shock.
When the lifetime of the CF Memory Card expires.
(Lifetime may shorten significantly, depending on its use.)
If the CF Memory Card is not set or inserted properly.
Cleaning
Use a blower to remove dust from the lens.
Use a soft, dry cloth to clean the external surfaces of the camera. Stubborn
stains can be removed using a soft cloth dampened with a small quantity of
detergent solution, then wipe dry.
Do not use volatile solvents such as alcohol, benzene or thinners as they may
damage the surface finishes.
Note on laser beams
Laser beams may damage image sensors. You are cautioned that the surface of image
sensors should not be exposed to laser beam radiation in an environment where a laser
beam device is used.
Phenomena Specific to Image Sensors
The following phenomena that may occur in images are specific to image
sensors. They do not indicate a malfunction.
White flecks
Although the image sensors are produced with high-precision technologies, fine
white flecks may be generated on the screen in rare cases, caused by cosmic rays,
etc.
This is related to the principle of image sensors and is not a malfunction.
The white flecks especially tend to be seen in the following cases:
- when operating at a high environmental temperature
- when you have raised the gain (sensitivity)
- when using the slow shutter
Aliasing
When fine patterns, stripes, or lines are shot, they may appear jagged or flicker.
About the imaging conditions
When Auto Iris is set to On, resolution may be unsatisfactory. In this case, set
Auto Iris to Off.
When View-DR is set to On, resolution may be unsatisfactory. In this case, set
View-DR to Off, Auto Iris to Off and shutter speed to Auto (SNC-CH240).
When using the manual Iris, set View-DR to Off (SNC-CH240).
About the Supplied Manuals
Installation Manual (this document)
This Installation Manual describes the names and functions of parts and controls
of the Network Camera, gives connection examples and explains how to set up
the camera. Be sure to read the Installation Manual before operating.
User’s Guide (stored in the CD-ROM)
The User’s Guide describes how to set up the camera and how to control the
camera via a Web browser.
After installing and connecting the camera correctly, operate referring to this
User’s Guide.
Using the CD-ROM Manuals
The supplied CD-ROM disc includes the User’s Guides for this unit in PDF format.
Preparations
The Adobe Reader Version 6.0 or higher must be installed on your computer in
order to use the guides stored in the CD-ROM disc.
Note
If Adobe Reader is not installed, it may be downloaded from the following URL:
http://www.adobe.com/
Reading the manual in the CD-ROM
1 Insert the CD-ROM in your CD-ROM drive.
A cover page appears automatically in your Web browser.
If it does not appear automatically in the Web browser, double-click on the
index.htm file on the CD-ROM.
2 Select and click on the manual that you want to read.
This opens the PDF file of the manual.
Clicking an item in the Table of Contents allows you jump to the relevant
page.
Notes
The files may not be displayed properly, depending on the version of Adobe
Reader. In this case, install the latest version, which you can download from
the URL mentioned in “Preparations” above.
If you have lost or damaged the CD-ROM, you can purchase replacement.
Contact your Sony service representative.
Adobe and Acrobat Reader are trademarks of Adobe Systems Incorporated in the
United States and/or other countries.
Smartphone viewer
This product is equipped with a Smartphone viewer.
With Smartphone viewer, you can display an image from a network camera, pan,
tilt and zoom that camera, on your smartphone.
For more details, see “Smartphone viewer User’s Manual” at the following URL:
http://www.sony.net/ipela/snc
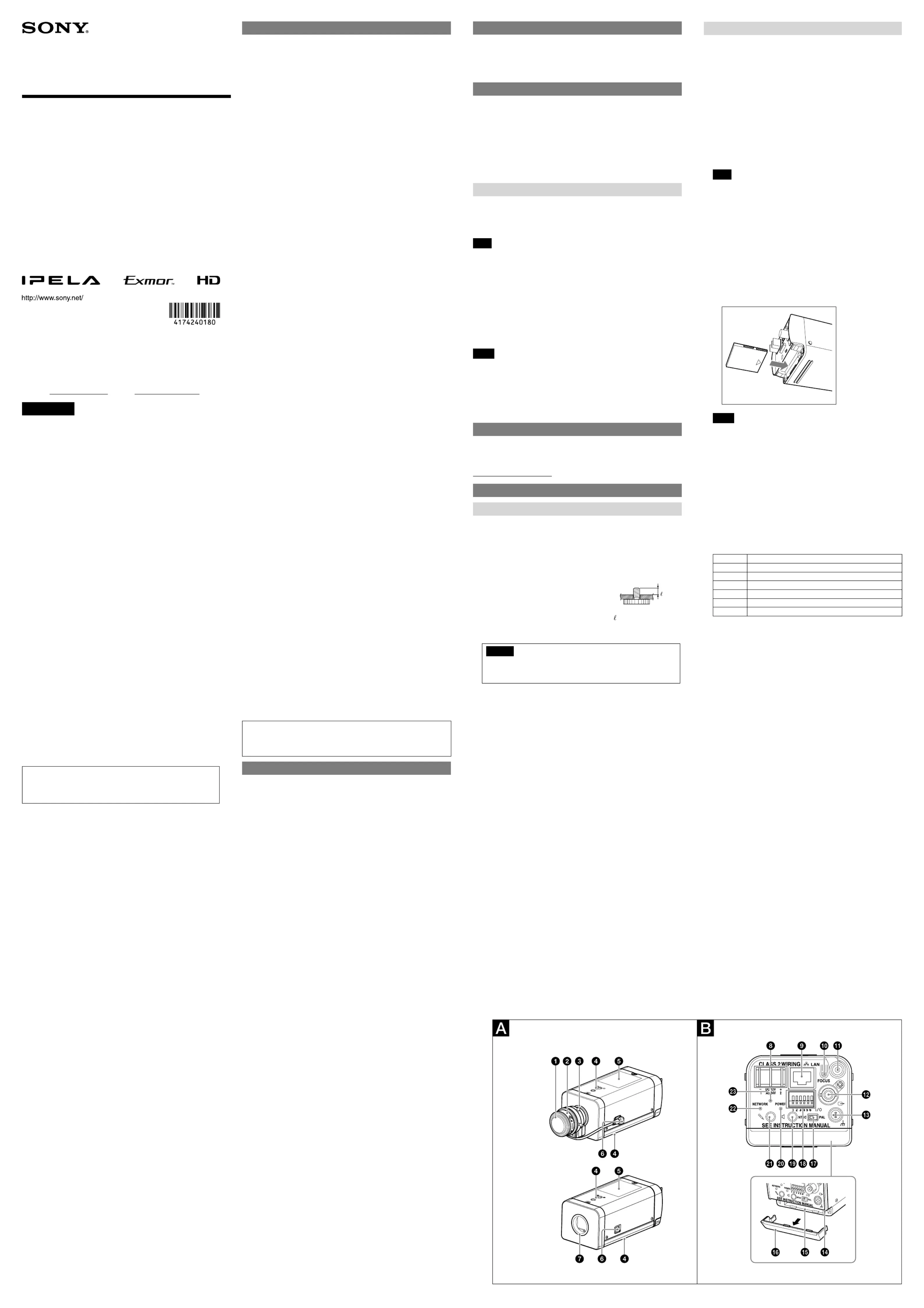
Location and Function of Part
Front
Lens
A vari-focal lens is mounted as standard equipment.
Focus ring
Turn this ring toward N (near) to focus on a closer object. Turn it toward F
(infinite) to focus on a farther object.
Zoom ring
Turn this ring toward T for telephoto, or toward W for wide-angle.
Tripod screw hole
Use this screw hole when attaching the camera
to a tripod (screw: 1/4”, 20 UNC). You can attach a
tripod to either the top or bottom of the camera.
Caution
Use the mounting screw whose length is 4.5 mm – 7 mm only. Use of
other screws may cause improper mounting and damage parts inside
the camera.
Rating Label
This label shows the name of device and its electric rating.
Lens connector (4-pin socket)
Supplies power and control signals to an auto-iris lens.
Lens mount (SNC-CH135 only)
Use to mount an appropriate CS-mount lens.
Use the C mount adaptor (optional) when you use the C-mount lens.
(A vari-focal lens is mounted as the standard equipment for SNC-CH140/
CH240.)
Rear
DC 12 V/AC 24 V (power input) terminal
Connect to a 12 V DC or 24 V AC power supply system.
LAN network port (RJ-45)
Connect to a hub on the 10BASE-T/100BASE-TX network using a network
cable (UTP, category 5).
Refer to “Connecting the power source” on the reverse side for PoE
connection.
Easy Focus button
Press this button to automatically adjust the focus.
To load the default setting, press and hold this button for 4 seconds.
Fall-prevention wire rope mounting screw hole
When installing the camera to the ceiling or the wall, secure the supplied
wire rope to this hole using the supplied screw.
VIDEO OUT (video output) connector
Connect the BNC cable (not supplied) to this connector.
Note
The output image is mainly used to adjust the view angle, and may not
display correctly, depending on the video format and image size settings.
The image may not display properly in the horizontal and/or vertical
plane.
The image may be reduced.
(ground) terminal
This is a ground terminal for the chassis.
CF card lever
Press the lever to remove the CF memory card** from the CF card slot.
CF card slot
This slot is used for the optional SNCA-CFW5* wireless card or CF
memory card**.
Insert the SNCA-CFW5* into the slot and attach the optional wireless LAN
antenna SNCA-AN1* to the camera to extend the communicable distance
by wireless LAN.
Notes
Insert the CF memory card with its bottom side facing the camera’
NETWORK indicator.
* SNCA-CFW5 and SNCA-AN1 are not available in some countries and
areas. For details, contact your authorized Sony dealer.
** For inquiries regarding verified CF memory cards, contact your
authorized Sony dealer.
CF card slot cover
To remove the CF card slot cover, pull the cover forward.
When reinstalling the CF card slot cover, be sure the cover is completely
closed.
NTSC/PAL switch
Switching the video output.
I/O (Input/Output) port
This cable is provided with a sensor input and two alarm outputs.
The wires of the cable control the following signals.
PinNo. Signal
1 Sensor input+
2 Sensor input– (GND)
3 Alarm output 1+
4 Alarm output 1–
5 Alarm output 2+
6 Alarm output 2–
For details on each function and required settings, see the User’s Guide stored
in the supplied CD-ROM.
For the wiring, see “Connecting the I/O cable.”
(line output) jack (minijack, monaural)
Connect a commercially available speaker system with a built-in
amplifier.
POWER indicator (Green)
When the power is supplied to the camera, the camera starts checking
the system. If the system is normal, this indicator lights up. If a system
error occurs, this indicator flashes every second. In this case, consult your
authorized Sony dealer.
(microphone input) jack (minijack, monaural)
Connect a commercially available microphone. This jack supports plug-
in-power microphones (rated voltage: 2.5 V DC).
NETWORK indicator (Green/Orange)
The indicator lights up or flashes when the camera is connected to the
network. The indicator is off when the camera is not connected to the
network. When 100BASE-TX is connected, the indicator turns green.
When 10BASE-T is connected, the indicator turns orange.
Reset switch
To reset the camera to the factory default settings, turn on the power to
the camera while holding down this switch with a pointed object.
(continued on the reverse side)
2009 Sony Corporation Printed in China
U1/4”, 20 UNC
= 4.5 mm - 7 mm
(ISO standard) (with the
screws fastened)
SNC-CH140/CH240
SNC-CH135
SNC-CH135/CH140/CH240
Problemløsning Sony SNC-CH140
Hvis du har læst manualen omhyggeligt, men ikke fundet en løsning på dit problem, bed andre brugere om hjælp
Specifikationer
| Vægt: | 600 g |
| Kompatible hukommelseskort: | Kompakt flash (CF) |
| Wi-Fi: | Ingen |
| Opbevaringstemperatur (T-T): | -20 - 60 °C |
| Understøttede videoformater: | H.264 |
| Strømforbrug (typisk): | 9 W |
| Driftstemperatur (T-T): | -10 - 50 °C |
| Maksimal opløsning: | 1280 x 1024 pixel |
| Dimensioner (BxDxH): | 72 x 63 x 197 mm |
| Understøttede netværksprotokoller: | IPv4, IPv6, TCP, UDP, ARP, ICMP, IGMP, HTTP, HTTPS, FTP (client/server), SMTP, DHCP, DNS, NTP, RTP/RTCP, RTSP, SNMP (MIB-2) |
| Effektkrav: | PoE, AC24V, DC12V |
| Kompatible operativsystemer: | Windows XP/ Vista |
| Hvidbalance: | Auto, Manual |
| Sensortype: | CMOS |
| Optisk zoom: | 2.9 x |
| Minimumsbelysning: | 0.2 Lux |
| Nattesyn: | Ja |
| Billedhastighed: | 30 fps |
| Brændviddeområde: | 2.8 - 8 mm |
| Kameraets lukkerhastighed: | 1 - 1/10000 sek./side |
| Signal/støjforhold: | 50 dB |
| F-number (relativ aperture): | F1.2, F1.9 |
| Minimum processor: | Intel Core2 Duo 2GHz |
| Minimum RAM: | 1024 MB |
| Objektivets synsvinkel, vandret: | 33.9 ° |