IFM
Ikke kategoriseret
IG0088
IFM IG0088 Brugsanvisning
Her er IFM IG0088 (Ikke kategoriseret) brugervejledning. 1 sider på sprog Engelsk med en vægt på 0.2 Mb. Hvis du ikke kan finde svar på dit problem Spørg vores community.
Side 1/1

ifm electronic gmbh • Friedrichstraße 1 • 45128 Essen • Germany • http://www.ifm.com • e-mail:info@ifm.com
UK
80011336 / 00 05 / 2014
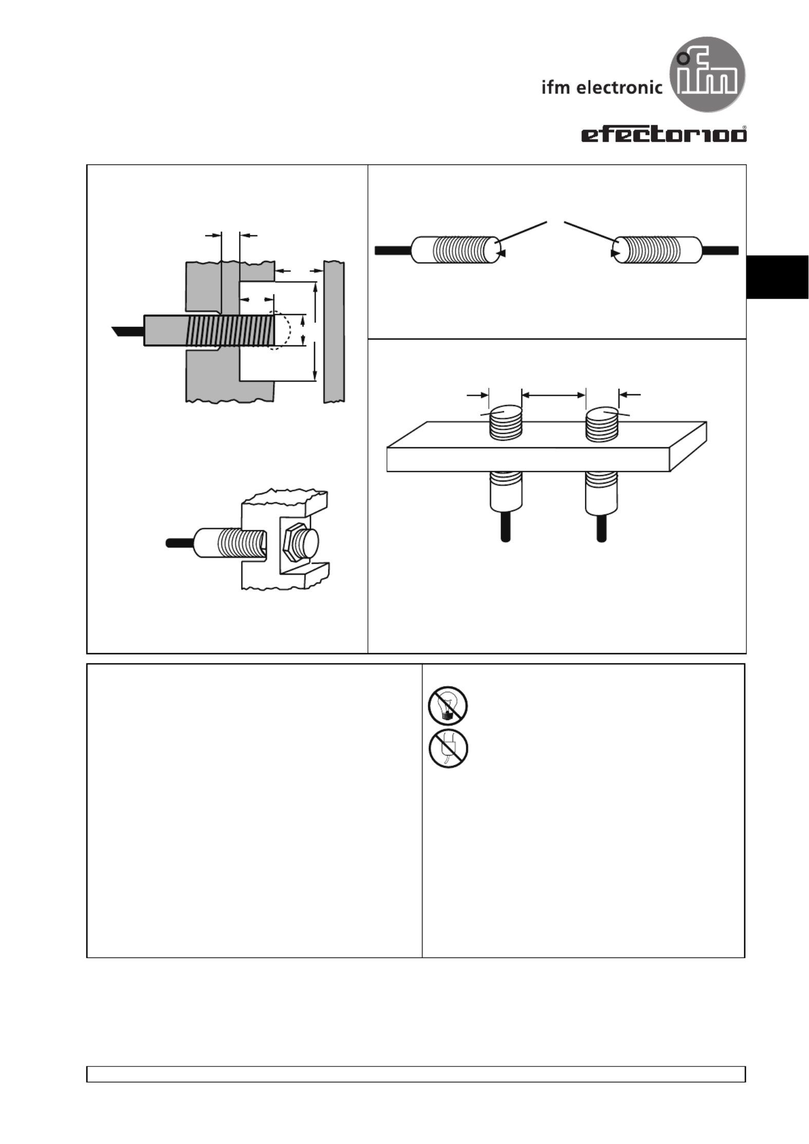
Mounting Instructions
Nonflush mountable tubular switches / CSA Div. 2
Nonflush mountable switches must have a metal-free zo-
ne surrounding the active face as shown here. And there
should be no metal behind the sensing face for a distance
equal to two times the nominal sensing range.
s = nominal sensing range
b = maximum thread length
M8 - 8 mm, M12 - 8 mm
M18 - 8 mm, M30 - 16 mm
b
2xs
3xs
D
3xD
Two flat nuts are provided to hold the installed switch in
place.
When mounting tubular switches opposite each other, the spacing distance
shown here should be maintained.
Sr = nominal sensing range
8 x Sr
active face
When mounting tubular switches next to each other, the spacing distance
shown here should be maintained.
D = Switch Diameter
D D
2xD
active face
active face
CSA for Hazardous Locations
When wired in accordance with CEC and this mounting instructions.
Class I, Div. 2, Groups A, B, C and D
Class II, Div. 2, Groups E, F and G
Class III, T4
Enclosure: Type 4/4x
Temp. range: -13° to 176°F (-25° to 80°C)
ELECTRICAL
DO NOT operate an incandescent light bulb as a load.
The current inrush when the bulb is cold can cause a
current overload.
DO NOT operate a proximity sensor directly from a
voltage supply without a load. This is a short circuit and
can cause damage. Note: insert a miniature fuse accor-
ding to the technical data sheet, if specified.
Concerning Safety... ifm efector makes every effort to build a de-
pendable product, but every product will eventually fail. Therefore,
your equipment must be designed to prevent property damage
and personal injury if our products fail. ifm efector proximity
switches are not designed to be used as stand-alone devices to
protect or guard human life or limb.
WARNING
Explosion Hazard – substitution of components may impair suitability
of Class 1, Div. 2. Do not disconnect while circuit is live unless area is
known to be non-hazardous.
AVERTISSEMENT
Risque d'explosion - La Substitution de composants peut rendre ce
matérielle inacceptable pour les emplacements de classe I division 2.
Ne pas débrancher tant que le circuit est sous tensions, à moins qu'il
ne s'agisse d'un emplacement non dangereux.
CAUTION
Use only ifm efector conduit adapters (U30029, U30030, U30031) or
other CSA ceritifed conduit adapters.
ATTENTION
Utiliser uniquement les adaptateurs tube d'ifm efector (U30029,
U30030, U30031) ou d'autres adaptateurs tube certifiés par CSA.
Problemløsning IFM IG0088
Hvis du har læst manualen omhyggeligt, men ikke fundet en løsning på dit problem, bed andre brugere om hjælp
Specifikationer
| Mærke: | IFM |
| Kategori: | Ikke kategoriseret |
| Model: | IG0088 |